Контакторы серии КТ-6000
контакторы КТ-6013, КТ-6012, КТ-6023, КТ-6022, КТ-6033, КТ-6032, КТ-6043,КТ-6053
Контакторы КТ-6013, КТ-6012, КТ-6023, КТ-6022, КТ-6033, КТ-6032, КТ-6043,КТ-6053 - контакторы электромагнитные открытого исполнения общего применения серии КТ-6000 предназначены для включения и отключения приемников электрической энергии и рассчитаны на номинальное напряжение 380В, 660В (КТ6063) переменного тока. По воздействию климатических факторов внешней среды контакторы изготавливаются для умеренного, тропического и холодного климата категорий размещения 3.
Контакторы рассчитаны для работы в продолжительном, прерывисто - продолжительном и повторно - кратковременном режиме с частотой включения до 1200 В в час. Номинальное напряжение главных контактов, В - 380 переменного тока частоты 50, 60 Гц.
ООО "АЛИТАС-электро" является ведущим поставщиком в РБ контакторов КТ-6023, КТ-6022, КТ-6033, КТ-6032. Каждый контактор поставляется в индивидуальной картонно-пенопластовой упаковке. Блок-контакты контакторов на 100А и 160А укомплектованы защитной крышкой. Контакторы КТ-6013, КТ-6012, КТ-6023, КТ-6022, КТ-6033,КТ-6032 изготавливаются в соответствии с ТУ У 31.2-22820979-003:2007.
Технические данные на контакторы КТ 6000
| Тип контактора | Количество полюсов | Номинальный ток главных контактов, А | Номинальное напряжение главных контактов, В | Номинальное напряжение включающих катушек контакторов, B |
|---|---|---|---|---|
| КТ-6013 | 3 | 100 | 380 | 220; 380 |
| КТ-6023 | 3 | 160 | 380 | 220; 380 |
| КТ-6033 | 3 | 250 | 380 | 220; 380 |
| КТ-6043 | 3 | 400 | 380 | 220; 380 |
| КТ-6053 | 3 | 630 | 380 | 220; 380 |
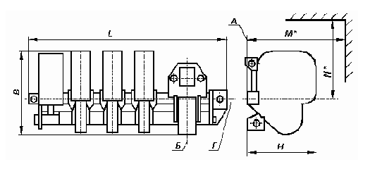
Габаритные размеры и масса контактора КТ6000

| Тип контактора | В, мм | L, мм | Н, мм | М, мм | N, мм | Масса, кг |
|---|---|---|---|---|---|---|
| КТ-6013 | 196 | 380 | 156 | 300 | 255 | 6,0 |
| КТ-6023 | 196 | 380 | 156 | 300 | 255 | до 0,88 |
| КТ-6033 | 240 | 480 | 198 | 300 | 255 | 17 |
| КТ-6043 | 338 | 580 | 314 | 340 | 278 | 42,5 |
| КТ-6053 | 325 | 680 | 275 | 422 | 340 | 57,0 |
Расшифровка обозначения
контакторов КТ 6000
(КТ-6013, КТ-6023, КТ-6033, КТ-6043, КТ-6053)
КТ - контактор переменного тока с управлением переменным током;
6 - условный номер серии
0 - с универсальным присоединением проводов к рейке
1 / 2 / 3 / 4 / 5 - номинальный ток: двухполюсных и трехполюсных контакторов для районов с умеренным и холодным климатом - 100А/160А/250А/400А/630А
0 - число полюсов главных контактов контактора
- 2 - двухполюсный;
- 3 - трехполюсный;
- 4 - четырехполюсный;
- 5 - пятиполюсный;
А - дополнительное условное обозначение специфических особенностей серии: повышенная коммутационная способность при напряжении 660В. Б - дополнительное условное обозначение специфических особенностей серии (модернизация); С - добавляется к обозначению контакторов, предназначенных для работы в продолжительном режиме и имеющих на главных контактах металлокерамические контакты на основе серебра.
Исполнение
У - для районов умеренного климата;ХЛ - холодного климата;
3 - категория размещения.
Присоединение внешних проводников -универсальное. Степень защиты - IР00.











